【角式法兰柱塞阀产品介绍】
U44SM角式法兰柱塞阀与直通式柱塞阀的工作原理完全相同,只不过是安装在管线中的位置不同,因而石油、化工、化肥、制药等长输管线中有不少的拐角转弯处,而角式柱塞阀正好装在这个部位,这样不但减少了接管弯头,安装方便,省工、省料等特点。
角式柱塞阀的关闭由一个不锈钢柱塞、上下两只富弹性密封圈及一个金属隔框组成,密封效果由柱塞与密封圈紧密配合来达柱塞插在两只密封圈中,密封面积远大于普通截止阀;开关柱塞阀时,柱塞在密封中缓慢移动,接触面几乎不磨损,关闭时,柱塞插入下密封圈,截断流道;开启时,柱塞虽然脱离下密封圈,但仍藏在上密封圈内,保持与外界隔离,不致发生泄漏。由于柱塞表面经过高精度外圆磨床加工而成。密封环采用弹性强、耐磨性高的无毒新型密封材料,所以密封可靠,经久耐用。从而提高了柱塞阀的使用寿合。
【角式法兰柱塞阀产品特点】
1、柱塞阀由阀体、阀盖、压盖、阀杆、阀塞、阀塞盖、活塞环、一体缸套(阀座)杄螺母、平面轴承、手轮、伞齿轮等部件组
成,由于轮旋转升杆式带动活塞使之在锥形缸套内外之间对位上下往复运动完成它的关闭与开启。
2、它的缸套结构锥形在缸套(阀座)锥圆形內根据适用介质分别堆焊了不锈合金钢或硬质合金,堆焊层硬度可达HRC40,经镗硏磨
而成。
3、阀塞与活塞环的密封结构具有金属与非金属的多层密封组成,当一道活塞环在长时间的使用操作中受磨损已调压至零位调压已
失效时,因此第二道金属截止式锥形活塞起着同时密封作用,故此活塞阀的使用寿命长达普通阀门的数倍,所以在使用过程中无
需特别保养而保持不漏,能实现了无泄漏管道的更佳启闭装置的选择,对节约能源减少劳力及环境污染具有明显的应用。
【角式法兰柱塞阀工作原理】
U44SM角式法兰柱塞阀的关闭由一个不锈钢柱塞、上下两只富弹性密封圈及一个金属隔框组成,密封效果由柱塞与密封圈紧密配合来达到,柱塞插在两只密封圈中,密封面积远大于普通截止阀;开关柱塞阀时,柱塞在密封圈中缓慢移动,接触面几乎不磨损,关闭时,柱塞插入下密封圈,截断流道;开启时,柱塞虽然脱离下密封圈,但仍藏在上密封圈内,保持与外界隔离,不致发生泄漏。
【角式法兰柱塞阀产品参数】
公称压力:1.0MPa-16MPa150Lb-1500Lb
公称通径:DN10-500mm
连接方式
材质:HT200、WCB、1Cr18NTi、CF8(304)、CF8(316)、316、zG0Cr18N12Mo2T等。
【角式法兰柱塞阀产品尺寸】
型号 | 公称通径 DN(mm) | 主要外形及连接尺寸(mm) | |||||||
L0 | H | W | D | D1 | D2 | b | Z-Φ d | ||
U(J)44SM-16cP | 15 | 65 | 190 | 100 | 95 | 65 | 45 | 12 | 4-14 |
20 | 75 | 210 | 100 | 105 | 75 | 55 | 12 | 4-14 | |
25 | 80 | 220 | 120 | 115 | 85 | 65 | 12 | 4-14 | |
32 | 90 | 250 | 140 | 135 | 100 | 78 | 13 | 4-18 | |
40 | 100 | 280 | 160 | 145 | 110 | 85 | 13 | 4-18 | |
50 | 115 | 300 | 180 | 160 | 125 | 100 | 13 | 4-18 | |
65 | 145 | 320 | 200 | 180 | 145 | 120 | 15 | 4-18 | |
80 | 155 | 340 | 240 | 195 | 160 | 135 | 17 | 8-18 | |
100 | 175 | 420 | 280 | 215 | 180 | 155 | 17 | 8-18 | |
125 | 200 | 440 | 320 | 240 | 210 | 185 | 19 | 8-18 | |
150 | 240 | 530 | 350 | 280 | 240 | 210 | 21 | 8-23 | |
200 | 300 | 610 | 400 | 335 | 295 | 265 | 23 | 12-23 | |
250 | 325 | 730 | 520 | 405 | 355 | 295 | 27 | 12-25 | |
300 | 375 | 850 | 640 | 460 | 410 | 385 | 28 | 12-25 | |
350 | 394 | 970 | 460 | 520 | 470 | 435 | 30 | 16-25 | |
400 | 457 | 1100 | 900 | 580 | 525 | 485 | 32 | 16-30 | |
型号 | 公称通径 DN(mm) | 主要外形及连接尺寸(mm) | |||||||
L0 | H | W | D | D1 | D2 | B | Z-Φ d | ||
U(J)44SM-25cP | 15 | 65 | 190 | 100 | 95 | 65 | 45 | 14 | 4-14 |
20 | 75 | 210 | 100 | 105 | 75 | 55 | 14 | 4-14 | |
25 | 80 | 230 | 110 | 115 | 85 | 65 | 14 | 4-14 | |
32 | 90 | 260 | 140 | 135 | 100 | 78 | 15 | 4-18 | |
40 | 100 | 260 | 160 | 145 | 110 | 85 | 15 | 4-18 | |
50 | 115 | 290 | 180 | 160 | 125 | 100 | 17 | 4-18 | |
65 | 145 | 320 | 200 | 180 | 145 | 120 | 19 | 8-18 | |
80 | 155 | 370 | 240 | 195 | 160 | 135 | 19 | 8-18 | |
100 | 175 | 420 | 280 | 230 | 190 | 160 | 21 | 8-23 | |
125 | 200 | 460 | 320 | 270 | 220 | 188 | 25 | 8-25 | |
150 | 240 | 530 | 350 | 300 | 250 | 218 | 27 | 8-25 | |
200 | 300 | 610 | 400 | 360 | 310 | 282 | 31 | 12-25 | |
250 | 325 | 730 | 520 | 425 | 370 | 345 | 33 | 12-30 | |
300 | 375 | 850 | 640 | 485 | 430 | 408 | 36 | 16-30 | |
350 | 394 | 970 | 760 | 550 | 490 | 465 | 40 | 16-34 | |
400 | 457 | 1100 | 900 | 610 | 550 | 535 | 44 | 16-34 | |
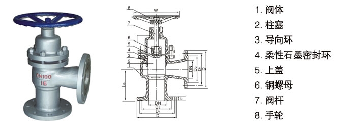
【角式法兰柱塞阀产品结构图】
